LG Files Patent For Device Capable Of Projecting 3D Images In The Air
LG has filed a patent introducing a device that would actually project 3D images in the air and let you interact with them, the same way they do it in movies.
In the patent, the description of this device and its functionality is discussed. Its inventors are Sungchul Shin, Eunsoo KIM, Seungcheol KIM and Bolam KIM.
Reality is Only a Breath Away from Movies
Remember how Tony Stark in Iron-Man used to view his data in his lab? He had some floating holographic screens that he used to touch and control, which would then react according to his actions- the same way touch screens work, but instead of using real screens, he had projected 3D screens.
Well, this kind of technology is one step closer to becoming a reality, since the giant tech firm LG has filed a patent which describes a device that makes this possible.
In-Depth Description of the Invention
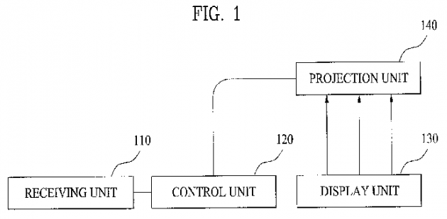
With this device users will be able to see the floating 3D image from any direction and control its contents without having to wear any kind of equipment (e.g. 3D glasses or tech gloves). More particularly, the device will consist of 4 units: A receiving unit, a display unit, a control unit and a projection unit. The final projected image will be a combination of two images, a spatial image and a background image.
The receiving unit will be used to receive the spatial and background images which will be projected, from an external device that holds the information for those images. This unit will also be able to receive a projection position signal from the external device which will either: a) activate a rotor, which in turn will change the position of either the display unit or the projection unit, b) change the state of the projection unit having a liquid crystal lens or a liquid lens, or c) control a shutter installed in the projection unit.
The control unit’s role will be to control the display unit. It will send the spatial and the background images to the display unit, which will then display them. The control unit will also be capable of controlling the operations of motors installed in the display unit and the projection unit, or an operation of the projection unit according to the projection position signal.
The display unit will be used to display the spatial and background image, as well as project light. This unit may actually be a common flat-screen display screen, a parallax barrier display, a volume 3D display with a spinning screen, a stacked 3D display, etc. Basically, the display unit will consist of two monitors of one of the aforementioned types, positioned on a first and second side of the projection unit correspondingly, and their jobs will be to display the spatial and background images at the same time or at different times.
The projection unit will be the one responsible for projecting the spatial and background image in the air by transmitting or reflecting the light. It will consist of a) a screen, b) a projection optical unit to alternately project, onto the screen, the spatial image at a first time and the background image at a second time, c) a spatial image projection unit located between the screen and the projection optical unit, reflecting the spatial image displayed on the screen to be projected into a predetermined space, and d) a shutter unit, located between the projection optical unit and the spatial image projection unit, passing the spatial image projected by the projection optical unit at the first time, and blocking the background image projected by the projection optical unit at the second time. The projection unit will reflect the light projected by the display unit and project the spatial image into a space between the display unit and itself.
Simple Description of its Functionality
The receiver unit will receive a 3D (spatial) image and a background image from an external device (a storage device of some sort, perhaps a USB device or a smartphone), and send them to the controller unit. The controller will send them to the display unit (which consists of two monitors), as well as send a signal to the motors of the display unit and the projection unit, in order to adjust them to their correct positions. The display unit displays the 3D and background images (i.e. the two screens display the images) and the projection unit will reflect or transmit the light the lights of the display screens, with the result being the floating 3D image.
The device however isn’t only capable of projecting 2D-images. Whenever a display unit is capable of rendering volume (namely “volume display unit” in the patent) then a spatial image rendering the volume of a projected image may be projected as well.
Applications in Modern Science
Of course, this invention will have a great impact on the field of medicine and surgery.
For example, in a situation of a critical surgery, like a brain tumor resection, a 3D tomography could be projected in a way that is convenient for the surgeons and allow them to have better real-time guidance throughout the operation. Medical image interpretation and neurosurgery guidance will be definitely improved by this kind of technology.
Other fields which would find this 3D projector quite helpful include biology (molecular rendering), physics (fluid mechanics), astrophysics (star simulation), geography (terrain visualization), applied sciences for the visualization of cities and everyday objects, and many, many other research areas.
Conclusion
Although it’s still under development and unpublished, this invention could mean a future where everyday duties and actions are simplified, while scientific research is given the potential of expanding even more.



