Google Plans To Implant Android Into Your Eye

Google Plans To Implant Android Into Your Eye

by Gary Oldwood on 26 June 2016 · 2328 views

4 large Google Plans To Implant Android Into Your Eye

Since 2014, the so-called Google Glass is available (or Google Glasses, if you prefer). If you are not aware of what this device is, then you should know that of course they are not just normal glasses, but glasses running Android OS. In the place of the right lens, a screen is mounted, while on the glasses' arm there is a touch surface- the end result is a little bit weird Android device in the form of glasses. But Google does not want to stay there- and that’s why it has filed a patent for the implantation of Android to the human eye.

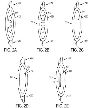
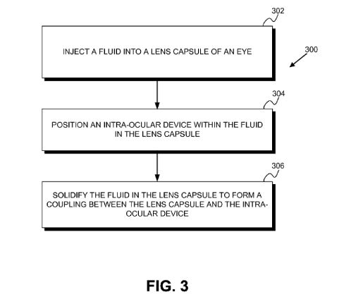
So, after this already quite innovative creation, Google intends to proceed to the next level, having already registered the trademarks for the so-called “Intra-ocular Device”. That’s right: the software will be placed directly into your eyes! (Scary, huh?)

The whole story is about a patent application, according to which, an antenna will provide the energy required to operate the device, although how this will happen has not been established yet.

1 full Google Plans To Implant Android Into Your Eye

2 full Google Plans To Implant Android Into Your Eye

3 full Google Plans To Implant Android Into Your Eye

Google has yet to speak officially for some Android OS that will accompany this innovative patent, but there are slim chances that it will be something other than Android. The above project has been archived in USPTO (United States Patent and Trademarks Office) since October 24, 2014 under the name of Andrew Jason Conrad, the head of Verily, a life sciences division of Alphabet Inc., and it’s definitely going to be long before it gets released.

But what will happen when it gets realized? What will it mean for the development of technology? Is this really the last step in the already successful progress of Android? And if not, think of what might be the next one, and which part of your everyday life you would like it to contribute.

Comments (0)
Featured Articles